鐵水罐雷達液位計
鐵水罐雷達液位計是用于煉鐵生產中測量鐵水罐鐵水液面高度的專用設備。該設備根據雷達測距原理可實時測量鐵水罐內鐵水的液位,克服了在惡劣環境下人工目測不準的弊端,便于操作人員控制出鐵口鐵水的量??梢苑乐硅F水從罐內溢出,避免事故的
- 詳情
- 參數
- 評價
鐵水罐雷達液位計是用于煉鐵生產中測量鐵水罐鐵水液面高度的專用設備。
該設備根據雷達測距原理可實時測量鐵水罐內鐵水的液位,克服了在惡劣環境下人工目測不準的弊端,便于操作人員控制出鐵口鐵水的量??梢苑乐硅F水從罐內溢出,避免事故的發生,可以合理確定鐵水裝載量,對指導“罐到底”有重要作用。

該設備采用高頻雷達物位計,具有雷達波發射角小指向性強的點,可有效避免罐口附著物、鐵水等造成的影響。
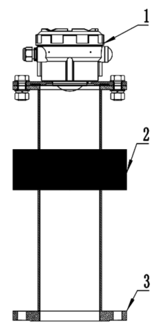
結構組成:
結構組成:
1 – 高頻雷達物位計
2 – 特殊高溫隔離材料
3 – 儀表安裝法蘭

安裝:
鐵水罐雷達液位計安裝在出鐵口上方,此處環境惡劣、溫度高、煙塵大,在反射信號中混合有許多干擾信號。為了消除高溫和粉塵對雷達測量的影響,我們在原有超高頻雷達物位計上加裝了專用的隔離裝置,由于高頻雷達物位計工作頻率 140GHz ,波束角0.8 度,聚焦性好,獨有的回波處理技術可針對真實回波和各種虛假回波進行識別,從而剔除周圍惡劣環境產生的虛假回波,保證測量的可靠性。
鐵水罐雷達液位計優點:

鐵水罐雷達液位計優點:
01、穩定連續測量
02、非接觸式測量,無技術故障,使用壽命長
03、操作簡單,安全自動測量
04、采用專用隔離裝置,隔離高溫粉塵
05、能輸出4~20mA標準信號,方便集成控制
06、可以連接LED屏幕,顯示鐵水罐鐵水液位和對應的鐵水罐罐號
07、精度高、抗干擾能力強
08、可在運行中維護,維護操作簡單

